⇯
Top
£0.00
HOME
SPARE PARTS
ACCESSORIES
MENU
MENU
HOME
SPARE PARTS
ACCESSORIES
info@gardenspareparts.co.uk
0151 207 1400
Electric Avenue - Liverpool, L11 0EL
My Account
0
£0.00
0151 207 1400
HOME
SPARE PARTS
ACCESSORIES
MENU
HOME
SPARE PARTS
ACCESSORIES
PLEASE ENTER
YOUR
MODEL NUMBER HERE:
Don't know your model number?
Let us give you a helping hand
Free Delivery Over £60
Over 200,000 Parts Stocked
Over 40 Years Experience
Help & Advice
Back To Search
Stihl 038 MW Magnum Handle Heating Gasoline Chainsaw Spare Parts
Product Code: SPARE_038MW
×
Pinch to Zoom Image
Choose Sub-Assembly
Air filter
Carburetor Bing 48A101 (50.2008)
Carburetor Bing 48A125 (50.2008)
Carburetor C3-148, C3-S149
Chain tensioner, Carburetor box cover
Clutch
Crankcase
Cylinder
handlebar, Chain sprocket cover
Ignition system
Muffler
Oil pump
Rewind starter
Shroud
Tank housing
View All Spares
Jump To Part
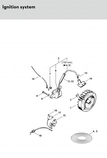
8
9
10
14
Name of Part & Product Reference
Price Ex VAT
Price Inc VAT
Quantity
8
Stihl Washer Din433-5,3
Product Reference: 92940210120
£0.83
Ex VAT
£0.99
Inc VAT
£0.83 Ex VAT
Price £0.99 Inc VAT
ADD TO BASKET
9
Stihl Spline Screw Is-M5X25-12.9
Product Reference: 90223711050
£0.83
Ex VAT
£0.99
Inc VAT
£0.83 Ex VAT
Price £0.99 Inc VAT
ADD TO BASKET
10
Stihl Short Circuit Wire 330Mm / 13"
Product Reference: 11184401100
£4.16
Ex VAT
£4.99
Inc VAT
£4.16 Ex VAT
Price £4.99 Inc VAT
ADD TO BASKET
14
Stihl Spark Plug Boot
Product Reference: 11284051000
£4.99
Ex VAT
£5.99
Inc VAT
£4.99 Ex VAT
Price £5.99 Inc VAT
ADD TO BASKET
© Power Tool Centre Ltd trading as Garden Spare Parts 2026
Powered By
TABS For Tools