⇯
Top
£0.00
HOME
SPARE PARTS
ACCESSORIES
MENU
MENU
HOME
SPARE PARTS
ACCESSORIES
info@gardenspareparts.co.uk
0151 207 1400
Electric Avenue - Liverpool, L11 0EL
My Account
0
£0.00
0151 207 1400
HOME
SPARE PARTS
ACCESSORIES
MENU
HOME
SPARE PARTS
ACCESSORIES
PLEASE ENTER
YOUR
MODEL NUMBER HERE:
Don't know your model number?
Let us give you a helping hand
Free Delivery Over £60
Over 200,000 Parts Stocked
Over 40 Years Experience
Help & Advice
Back To Search
Stihl HS 82 RC-E Hedgetrimmers ErgoStart/Easy2Start Cutting blade Spare Parts
Product Code: SPARE_HS82RC-E
×
Pinch to Zoom Image
Choose Sub-Assembly
Carburetor 4237 21
Carburetor C1Q-S292
Control Handle HS 82
Control Handle HS 82 (40.2018)
Crankcase, Cylinder
Cutter
Cutter Bar
Gear Head HS R
Handle Fram, Fuel Tank
ignition System, Clutch
Rewind Starter
Spacer Flange, Filter
View All Spares
Jump To Part
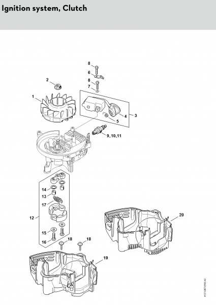
1
2
3
4
5
6
7
8
9
10
11
12
13
14
15
16
17
18
19
20
Name of Part & Product Reference
Price Ex VAT
Price Inc VAT
Quantity
1
Stihl Flywheel
Product Reference: 42374001202
£66.66
Ex VAT
£79.99
Inc VAT
£66.66 Ex VAT
Price £79.99 Inc VAT
ADD TO BASKET
2
Stihl Collar Nut
Product Reference: 00009550802
£1.66
Ex VAT
£1.99
Inc VAT
£1.66 Ex VAT
Price £1.99 Inc VAT
ADD TO BASKET
3
Stihl Ignition Module
Product Reference: 42374001307
(4, 5)
£100.83
Ex VAT
£120.99
Inc VAT
£100.83 Ex VAT
Price £120.99 Inc VAT
ADD TO BASKET
4
Stihl Spark Plug Boot
Product Reference: 42374051001
£5.83
Ex VAT
£6.99
Inc VAT
£5.83 Ex VAT
Price £6.99 Inc VAT
ADD TO BASKET
5
Stihl Torsion Spring
Product Reference: 00009980618
£1.66
Ex VAT
£1.99
Inc VAT
£1.66 Ex VAT
Price £1.99 Inc VAT
ADD TO BASKET
6
Stihl Connector Tag
Product Reference: 42374312100
£1.66
Ex VAT
£1.99
Inc VAT
£1.66 Ex VAT
Price £1.99 Inc VAT
ADD TO BASKET
7
Stihl Washer Din125-A4,3
Product Reference: 92910210100
£0.83
Ex VAT
£0.99
Inc VAT
£0.83 Ex VAT
Price £0.99 Inc VAT
ADD TO BASKET
8
Stihl Pan Head Self-Tapping Screw Is-D4X18
Product Reference: 90754783018
£0.83
Ex VAT
£0.99
Inc VAT
£0.83 Ex VAT
Price £0.99 Inc VAT
ADD TO BASKET
9
Stihl 00004007011 Spark Plug Ngk Cmr6H
Product Reference: 00004007011
£3.33
Ex VAT
£3.99
Inc VAT
£3.33 Ex VAT
Price £3.99 Inc VAT
ADD TO BASKET
10
Stihl 00004007025 Spark plug STIHL ZK C Pack of 10
Product Reference: 00004007025
£25.83
Ex VAT
£30.99
Inc VAT
£25.83 Ex VAT
Price £30.99 Inc VAT
ADD TO BASKET
11
Stihl 00004007026 Spark plug STIHL ZK C 10 (1= set of 40)
Product Reference: 00004007026
£95.83
Ex VAT
£114.99
Inc VAT
£95.83 Ex VAT
Price £114.99 Inc VAT
ADD TO BASKET
12
Stihl Clutch
Product Reference: 42371602001
(13 - 17)
£29.16
Ex VAT
£34.99
Inc VAT
£29.16 Ex VAT
Price £34.99 Inc VAT
ADD TO BASKET
13
Stihl Ring
Product Reference: 00009610608
£1.66
Ex VAT
£1.99
Inc VAT
£1.66 Ex VAT
Price £1.99 Inc VAT
ADD TO BASKET
14
Stihl Washer 16X10X0.5
Product Reference: 00009581000
£0.83
Ex VAT
£0.99
Inc VAT
£0.83 Ex VAT
Price £0.99 Inc VAT
ADD TO BASKET
15
Stihl Washer
Product Reference: 00009580609
£0.83
Ex VAT
£0.99
Inc VAT
£0.83 Ex VAT
Price £0.99 Inc VAT
ADD TO BASKET
16
Stihl Hexagonal Head Screw
Product Reference: 00009510606
£1.66
Ex VAT
£1.99
Inc VAT
£1.66 Ex VAT
Price £1.99 Inc VAT
ADD TO BASKET
17
Stihl Tension Spring
Product Reference: 00009975523
£1.66
Ex VAT
£1.99
Inc VAT
£1.66 Ex VAT
Price £1.99 Inc VAT
ADD TO BASKET
18
Stihl Screw
Product Reference: 00009511100
£1.66
Ex VAT
£1.99
Inc VAT
£1.66 Ex VAT
Price £1.99 Inc VAT
ADD TO BASKET
19
Stihl Engine Housing
Product Reference: 42370213006
£47.49
Ex VAT
£56.99
Inc VAT
£47.49 Ex VAT
Price £56.99 Inc VAT
ADD TO BASKET
20
Stihl Engine Housing
Product Reference: 42370213005
£47.49
Ex VAT
£56.99
Inc VAT
£47.49 Ex VAT
Price £56.99 Inc VAT
ADD TO BASKET
© Power Tool Centre Ltd trading as Garden Spare Parts 2026
Powered By
TABS For Tools